|
Есть вопросы? Наши квалифицированные специалисты готовы проконсультировать вас. Пишите свои вопросы или отправляйте заявку на нашу почту: gt@gigaterm.ru |
Задать вопрос
|
Доставка - по тарифу ТК
Технические характеристики
|
Наименование основных технических характеристик |
ВСХ-15-02; ВСХд-15-02; ВСГ-15-02; ВСГд-15-02; ВСТ-15 |
ВСХ-20-02; ВСХд-20-02; ВСГ-20-02; ВСГд-20-02; ВСТ-20 |
|
|
Номинальный диаметр |
DN |
15 |
20 |
|
Номинальный расход, Qn |
м/ч |
1,5 |
2,5 |
|
Максимальный расход, Qmax |
м/ч |
3,0 |
5,0 |
|
Переходный расход, Qt Класс А/В |
м/ч |
0,15/0,12 |
0,25/0,2 |
|
Минимальный расход, Qmin Класс А/В |
м/ч |
0,06/0,03 |
0,1/0,05 |
|
Порог чувствительности |
м/ч |
0,01 |
0,02 |
|
Наибольшее значение роликового указателя счетного механизма |
м |
99999 (99999,999) |
99999 |
|
Потеря давления при Qmax, не более |
МПа |
0,1 |
0,1 |
|
Цена импульса для ВСГд, ВСХд |
л/имп |
1 |
1 |
|
Пределы допустимой относительной погрешности: |
|||
|
- Qt до Qmax |
% |
± 2 |
± 2 |
|
- Qmin до Qt |
% |
± 5 |
± 5 |
|
Масса, не более |
кг |
0,6 |
0,6 |
|
Гарантийный срок |
месяц |
24 |
|
|
Средний срок службы, не менее |
лет |
12 |
|
|
Межповерочный интервал |
лет |
6 |
|
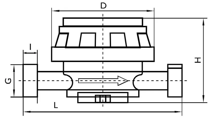
Габаритные размеры
|
Габаритные размеры, не более |
DN |
15 |
20 |
![]() |
|
G |
дюйм |
3/4 |
1 |
|
|
L |
мм |
110 (80) |
130 |
|
|
H |
мм |
80 |
123 |
|
|
D |
мм |
80 |
80 |
Технические характеристики магнитноуправляемого контакта
- максимальное коммутирующее напряжение, В -50;
- максимальный коммутирующий ток через контакт, мА -100;
- частота замыкания контакта, Гц, не более - 1.
Купить ВСГ-20 счетчик горячей воды с доставкой по России
Крыльчатые одноструйные сухоходные счетчики воды ВСГ-20 - предназначены для коммерческого учета расхода горячей воды в системах водоснабжения. Приборы DN 20 предназначены для использования на объектах с малым потреблением воды и рекомендуются для установки в жилых и производственных помещениях, квартирах, коттеджах, офисах и других объектах коммунального хозяйства. Счетчики данного типа имеют возможностью установки дополнительного модуля для систем диспетчеризации по радио каналу.
Способ установки
Счетчики воды типа: ВСХ, ВСХд, ВСГ, ВСГд, ВСТ - предназначены для установки на горизонтальном или вертикальном участке трубопровода с прямыми участками 5 Ду перед и 1 Ду после счетчика (Ду - диаметр условного прохода).
Технические характеристики
|
Наименование основных технических характеристик |
ВСХ-15-02; ВСХд-15-02; ВСГ-15-02; ВСГд-15-02; ВСТ-15 |
ВСХ-20-02; ВСХд-20-02; ВСГ-20-02; ВСГд-20-02; ВСТ-20 |
|
|
Номинальный диаметр |
DN |
15 |
20 |
|
Номинальный расход, Qn |
м/ч |
1,5 |
2,5 |
|
Максимальный расход, Qmax |
м/ч |
3,0 |
5,0 |
|
Переходный расход, Qt Класс А/В |
м/ч |
0,15/0,12 |
0,25/0,2 |
|
Минимальный расход, Qmin Класс А/В |
м/ч |
0,06/0,03 |
0,1/0,05 |
|
Порог чувствительности |
м/ч |
0,01 |
0,02 |
|
Наибольшее значение роликового указателя счетного механизма |
м |
99999 (99999,999) |
99999 |
|
Потеря давления при Qmax, не более |
МПа |
0,1 |
0,1 |
|
Цена импульса для ВСГд, ВСХд |
л/имп |
1 |
1 |
|
Пределы допустимой относительной погрешности: |
|||
|
- Qt до Qmax |
% |
± 2 |
± 2 |
|
- Qmin до Qt |
% |
± 5 |
± 5 |
|
Масса, не более |
кг |
0,6 |
0,6 |
|
Гарантийный срок |
месяц |
24 |
|
|
Средний срок службы, не менее |
лет |
12 |
|
|
Межповерочный интервал |
лет |
6 |
|
Габаритные размеры
|
Габаритные размеры, не более |
DN |
15 |
20 |
![]() |
|
G |
дюйм |
3/4 |
1 |
|
|
L |
мм |
110 (80) |
130 |
|
|
H |
мм |
80 |
123 |
|
|
D |
мм |
80 |
80 |
Технические характеристики магнитноуправляемого контакта
- максимальное коммутирующее напряжение, В -50;
- максимальный коммутирующий ток через контакт, мА -100;
- частота замыкания контакта, Гц, не более - 1.


