|
Есть вопросы? Наши квалифицированные специалисты готовы проконсультировать вас. Пишите свои вопросы или отправляйте заявку на нашу почту: gt@gigaterm.ru |
Задать вопрос
|
Доставка - по тарифу ТК
Технические характеристики
|
Диаметр условного прохода, DN |
50/20 |
65/20 |
80/20 |
100/20 |
150/40 |
|
|
Номинальный расход, Qn |
м?/ч |
50 |
60 |
120 |
230 |
400 |
|
Максимальный расход, Qmax |
м?/ч |
90 |
120 |
200 |
300 |
600 |
|
Переходный расход, Qt |
м?/ч |
0,2 |
0,2 |
0,2 |
0,2 |
0,8 |
|
Минимальный расход, Qmin |
м?/ч |
0,05 |
0,05 |
0,05 |
0,05 |
0,2 |
|
Порог чувствительности |
м?/ч |
0,015 |
0,015 |
0,015 |
0,015 |
0,1 |
|
Наибольшее значение роликого указателя счетного механизма |
м? |
999 999 х 10 999 999 |
999 999 х 10 999 999 |
|||
|
Расход воды, м?/ч, при потере давления 0,01МПа, не более |
12 |
28 |
33 |
44 |
118 |
|
|
Цена импульса для ВСХНКд |
л/имп |
100/1 |
100/1 |
100/1 |
100/1 |
1000/100 |
|
Пределы допускаемой относительной погрешности: |
||||||
|
- от Qt до Qmax |
% |
± 2 |
||||
|
- от Qmin до Qt |
% |
± 5 |
||||
|
Масса ВСХНК / ВСХНКд |
кг |
17,6/18,7 |
21,1/22,2 |
25,1/26,2 |
30,1/31,2 |
74,6/76,9 |
|
Степень защиты |
IP |
IP54 и IP68 (по заказу) |
||||
|
Средний срок службы, не менее |
лет |
12 |
||||
|
Межповерочный интервал |
лет |
6 |
||||
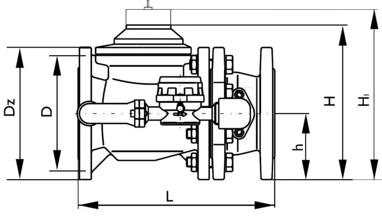
Габаритные размеры
|
Габаритные размеры, мм, не более |
|||||
|
DN |
50/20 |
65/20 |
80/20 |
100/20 |
150/40 |
|
Dz |
165 |
180 |
195 |
215 |
280 |
|
D |
125 |
145 |
160 |
180 |
240 |
|
L |
270 |
300 |
300 |
360 |
500 |
|
H |
180 |
190 |
212 |
222 |
350 |
|
HI |
190 |
200 |
222 |
232 |
360 |
|
h |
72 |
83 |
95 |
105 |
135 |
|
B |
185 |
196 |
200 |
215 |
295 |
|
b |
95 |
104 |
110 |
125 |
150 |
|
S |
280 |
300 |
310 |
340 |
445 |
Счетчик холодной воды ВСХНКд 80/20 комбинированный с доставкой по РФ
Счетчик воды комбинированный ВСХНКд ‒ это современный и высокоточный прибор, предназначенный для учета ресурсов в системах холодного водоснабжения. Прибор обеспечивает измерение объема холодной воды при температуре от +5 до +50 °С. Зафиксированный объем показывается в куб. м.
Особенность таких водомеров заключается в том, что они подходят для использования на объектах, где наблюдается изменяемый расход воды, объем рабочей среды может варьироваться в зависимости от времени, сезона или протекающих производственных процессов. Приборы будут эффективно и точно учитывать объем воды даже при его резком увеличении, например, для нужд пожаротушения.
Данные счетчики подходят для установки только горизонтально. Для работы прибор должен быть всегда заполнен водой.
Область применения
Комбинированный счетчик холодной воды ВСХНКд имеет достаточно широкую сферу применения. Их можно устанавливать на объектах социального назначения - в учебных заведениях, детских садах, а также в офисных зданиях, бизнес-центрах и жилых многоквартирных домах, на предприятиях энергетики и на различных других промышленных объектах.
Преимущества
Среди преимущественных особенностей водомера ВСХНК-80/20 и других модификаций:
- объединение в одном датчике двух водомеров с разными характеристиками;
- надежное исполнение в прочном корпусе, защита от несанкционированного проникновения извне;
- детали водомеров, имеющие контакт с водой, выполнены из тех материалов, которые не ухудшают ее качество;
- возможность монтажа радионакладки;
- счетное устройство прибора отличается стойкостью к запотеванию;
- датчик отличается невысоким порогом чувствительности;
- длительный межповерочный интервал, составляющий 6 лет.
Перед продажей все водомеры подвергаются опрессовке.
Где купить счетчик воды?
На нашем сайте можно приобрести в разной модификации счетчики холодной воды комбинированные ‒ от ВСХНК-50/20 до ВСХНК-150/40. Устройства характеризуются высокой точностью измерений, соответствуют стандартам качества. Помимо выбора необходимого диаметра условного прохода, можно выбрать класс пылевлагозащиты (ВСХНК IP68/ ВСХНК IP54) и вариант с наличием или отсутствием импульсного выхода.
Технические характеристики
|
Диаметр условного прохода, DN |
50/20 |
65/20 |
80/20 |
100/20 |
150/40 |
|
|
Номинальный расход, Qn |
м?/ч |
50 |
60 |
120 |
230 |
400 |
|
Максимальный расход, Qmax |
м?/ч |
90 |
120 |
200 |
300 |
600 |
|
Переходный расход, Qt |
м?/ч |
0,2 |
0,2 |
0,2 |
0,2 |
0,8 |
|
Минимальный расход, Qmin |
м?/ч |
0,05 |
0,05 |
0,05 |
0,05 |
0,2 |
|
Порог чувствительности |
м?/ч |
0,015 |
0,015 |
0,015 |
0,015 |
0,1 |
|
Наибольшее значение роликого указателя счетного механизма |
м? |
999 999 х 10 999 999 |
999 999 х 10 999 999 |
|||
|
Расход воды, м?/ч, при потере давления 0,01МПа, не более |
12 |
28 |
33 |
44 |
118 |
|
|
Цена импульса для ВСХНКд |
л/имп |
100/1 |
100/1 |
100/1 |
100/1 |
1000/100 |
|
Пределы допускаемой относительной погрешности: |
||||||
|
- от Qt до Qmax |
% |
± 2 |
||||
|
- от Qmin до Qt |
% |
± 5 |
||||
|
Масса ВСХНК / ВСХНКд |
кг |
17,6/18,7 |
21,1/22,2 |
25,1/26,2 |
30,1/31,2 |
74,6/76,9 |
|
Степень защиты |
IP |
IP54 и IP68 (по заказу) |
||||
|
Средний срок службы, не менее |
лет |
12 |
||||
|
Межповерочный интервал |
лет |
6 |
||||
Габаритные размеры
|
Габаритные размеры, мм, не более |
|||||
|
DN |
50/20 |
65/20 |
80/20 |
100/20 |
150/40 |
|
Dz |
165 |
180 |
195 |
215 |
280 |
|
D |
125 |
145 |
160 |
180 |
240 |
|
L |
270 |
300 |
300 |
360 |
500 |
|
H |
180 |
190 |
212 |
222 |
350 |
|
HI |
190 |
200 |
222 |
232 |
360 |
|
h |
72 |
83 |
95 |
105 |
135 |
|
B |
185 |
196 |
200 |
215 |
295 |
|
b |
95 |
104 |
110 |
125 |
150 |
|
S |
280 |
300 |
310 |
340 |
445 |
Методика поверки ВСХНК ВСХНКд.pdf (скачать)
Свидетельство ВСХНК ВСХНКд.pdf (скачать)

